2021年重庆市重大动物疫病免疫疫苗项目(20A03399)中标结果公告
一、项目号:20A03399采购执行编号:1708-BZ2100400035AH采购方式:公开招标
二、项目名称:2021年重庆市重大动物疫病免疫疫苗
三、中标(成交)信息:
分包号:1
供应商名称:吉林冠界生物技术有限公司
供应商地址:梅河口市曙光镇罗家村
中标(成交)金额:12,600,000.00元
分包号:2
供应商名称:乾元浩生物股份有限公司
供应商地址:北京市丰台区南四环西路188号十一区20号楼2-4层
中标(成交)金额:7,560,000.00元
分包号:3
供应商名称:青岛易邦生物工程有限公司
供应商地址:青岛红岛经济区红岛街道岙东南路21号
中标(成交)金额:5,040,000.00元
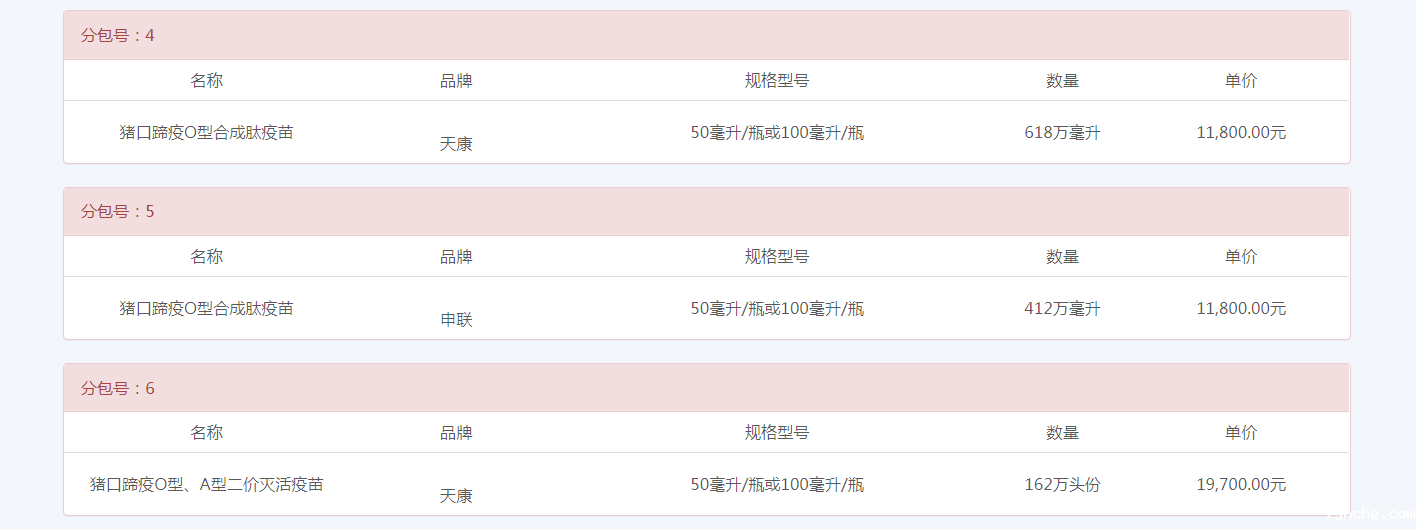
分包号:4
供应商名称:天康生物制药有限公司
供应商地址:新疆乌鲁木齐经济开发区(头屯河区)二期卫星路46号1栋201室
中标(成交)金额:7,292,400.00元
分包号:5
供应商名称:申联生物医药(上海)股份有限公司
供应商地址:上海市闵行区江川东路48号
中标(成交)金额:4,861,600.00元
分包号:6
供应商名称:天康生物制药有限公司
供应商地址:新疆乌鲁木齐经济开发区(头屯河区)二期卫星路46号1栋201室
中标(成交)金额:3,191,400.00元
分包号:7
供应商名称:中牧实业股份有限公司
供应商地址:北京市丰台区南四环西路188号八区16-19号楼
中标(成交)金额:2,127,600.00元
分包号:8
供应商名称:中牧实业股份有限公司
供应商地址:北京市丰台区南四环西路188号八区16-19号楼
中标(成交)金额:1,354,200.00元
分包号:9
供应商名称:天康生物制药有限公司
供应商地址:新疆乌鲁木齐经济开发区(头屯河区)二期卫星路46号1栋201室
中标(成交)金额:902,800.00元
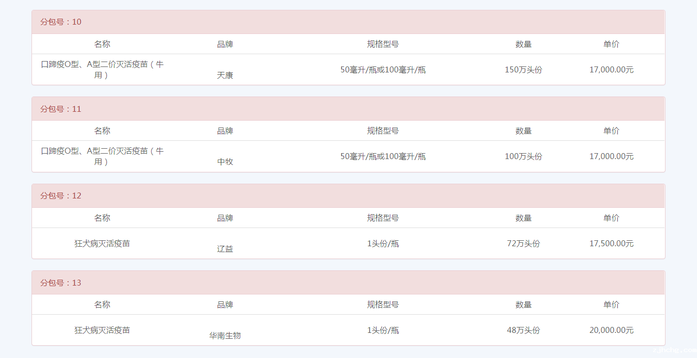
分包号:10
供应商名称:天康生物制药有限公司
供应商地址:新疆乌鲁木齐经济开发区(头屯河区)二期卫星路46号1栋201室
中标(成交)金额:2,550,000.00元
分包号:11
供应商名称:中牧实业股份有限公司
供应商地址:北京市丰台区南四环西路188号八区16-19号楼
中标(成交)金额:1,700,000.00元
分包号:12
供应商名称:辽宁益康生物股份有限公司
供应商地址:辽阳市太子河区南驻路12号
中标(成交)金额:1,260,000.00元
分包号:13
供应商名称:广州市华南农大生物药品有限公司
供应商地址:广州市增城增江街东区高科技工业基地
中标(成交)金额:960,000.00元
四、主要标的信息




五、评审专家名单
张素辉 蒋庆 谢远兵 骆璐 姚璐 高平 汪顺祥
六、代理服务收费标准及金额
代理服务收费标准:详见招标文件
代理服务费总计:562970.0元
七、公告期限
自本公告发布之日起1个工作日
八、其他补充事宜
1、吉林冠界生物技术有限公司、申联生物医药(上海)股份有限公司和广州市华南农大生物药品有限公司3家投标人为小型企业,在评审过程中享受了报价扣除政策;2、分包1、2、3、4、5、8、9的数量单位为“万毫升”,分包6、7、10、11、12、13的数量单位为“万头份”。
九、凡对本次公告内容提出询问,请按以下方式联系
1、采购人信息
采购人:重庆市动物疫病预防控制中心
采购经办人:丁平
采购人电话:023-89138910
采购人地址:重庆市渝北区农业园区宝石路3号
2、采购代理机构信息
代理机构:重庆市政府采购中心
代理机构经办人:何源 马诗雨 袁建文 郑菡
代理机构电话:023-67703878 67706795
代理机构地址:重庆市江北区五简路2号重庆咨询大厦B座507室
3、项目联系方式
项目联系人:何源 马诗雨 袁建文 郑菡
项目联系人电话:023-67703878 67706795
十、附件
20A03399-2021年重庆市重大动物疫病免疫疫苗
版权所有:ac米兰足球直播入口 主办:ac米兰足球直播入口 ICP备案:渝ICP备10005495号-7 政府网站标识码:5000000061 渝公网安备 50019002500651号